
Boeing the US aerospace giant ended up losing a very crucial patent due to a misplaced comma in the patent claim.
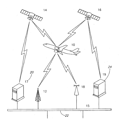
The patent under question was EP1798 872 dealing with method of handling aircrafts communication. The method discloses use of different communication networks to send information related to flight routes and other associated data. All the communication channels are not always active and hence a preference list is used by the system to identify the currently available network for transmission of the information. The patent was filed in 2006, got granted in 2011 but the Boeing’s competitor Airbus opposed the grant in 2012.
evaluating a preference to determine a preferred network of the plurality of transmission networks, wherein the preference comprises a preference list identifying a selection of the plurality of broadcast networks in order of preference and identifying the highest in preference of the plurality of broadcast networks in the preference list that is available;
In the above claim limitation, there is a comma after term ‘’plurality of transmission networks” but there is no comma after the term ‘’preference’’ followed by the terms “and identifying the highest” see below
wherein the preference comprises a preference list identifying a selection of the plurality of broadcast networks in order of preference and identifying the highest in preference of the plurality of broadcast networks in the preference list that is available;
As a result, the claim limitation is read in a different manner, due to the absence of comma, the two features are read together. Therefore the list not only comprises information about identifying a selection of networks but also identifying highest preference broadcast network in the preference list that is available.
Boeing went on appealing the case as the patent was revoked by the patent office, Boeing argued that “The patent must be construed by a mind willing to understand not a mind desirous of misunderstanding". Therefore, patent’s description and drawing should be referred for the proper interpretation of the terms.
However, appeal board believed that the description and drawing of the patent is not an automatic choice for reference if an “ambiguous” feature is encountered in the claim. In this case, the feature under question has theoretically more than one interpretation. Hence, if the claim include inconsistencies or vagueness description cannot help, claims are judged on its own merits.
Also, due to the absence of comma, the claimed features are read together and support for such interpretation is not present/disclosed in the patent application.

The use of the same verb in feature for identifying a preference list and then identifying the highest preference network would result in associating second identifying subclause with the preference list, see below:
a preference list identifying a selection of the plurality of broadcast networks in order of preference and identifying the highest in preference of the plurality of broadcast networks in the preference list that is available
It cannot be expected from a skilled person to apply commas at different places within the claim to speculate different meanings out of the claimed invention. Therefore, it puts “undue burden on the reader” of the patent claim.
The claim uses the term preference “list” and “lists” inconsistently in different clauses (clause g and clause h) and also the absence of explicit mention of availability in the preference list in below clause prevents the technically accurate interpretation of the claim.
“re-evaluating the preferences of the message according to changes in availability of the broadcast networks to determine a current preferred network corresponding to a highest in preference of the plurality of broadcast networks in the preference lists corresponding to the message; and”
View All

Are you trying to figure out why investors value patents? Intellectual property is undoubtedly...

Are you trying to figure out why investors value patents? Intellectual property is undoubtedly...

Are you trying to figure out why investors value patents? Intellectual property is undoubtedly...
You could spend the next 3 years following up on patent applications.